1. 서론
타워 크레인은 건설 현장을 지나다 보면 쉽게 볼 수 있는 건설기계입니다. 지브(jib)의 유형에 따라 T형과 L형으로 나뉘지만 마스트는 동일합니다.
반면에 지지방식에 따라 마스트의 구조적 거동이 달라질 수 있는데 고정식(Stationary Type)과 상승식(Climbing Type)이 그렇습니다. 이 두 종류에 따라 마스트는 전혀 다른 양상을 보입니다.


고정식은 지반에 콘크리트 기초블록을 설치하고 앵커볼트에 의해 단단히 체결됩니다. 때문에 타워 마스트의 응력 대부분이 기초부에 집중됩니다.
반면에 상승식의 경우 빌딩이 높게 건축됨에 따라 함께 올라갑니다. 예를 들어 빌딩을 10층 높이만큼 건축 중일 때 4층과 6층에 지지대를 설치하여 가동하고, 빌딩 높이가 20층 높이만큼 일 때 14층과 16층에 지지대를 설치하여 가동하는 방식입니다.
이 두 가지 방식에 따라 마스트의 구조해석을 실시하여 마스트의 안전성을 확인해보겠습니다.
2. 경계 및 하중 조건
1) 고정식

고정식은 지반에 설치된 기초 콘크리트 블록에 앵커볼트로 지지되므로 각 4개의 앵커볼트의 자유도를 모두 구속 시켜 해석을 진행합니다.
또한 마스트의 강도 계산에 관한 하중의 구성은 수직동하중, 수직정하중, 수평동하중, 풍하중 등을 고려합니다(산업안전보건법, 위험기계 기구 안전인증 고시 제2020-41호).
따라서 고정식 마스트의 경우 모멘트와 수직 및 수평하중이 동시에 작용하는 외팔보와 같은 조건이 됩니다.
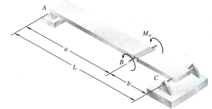
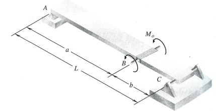
2) 상승식

상승식은 건축물의 2개 층에 고정되어 건축물과 함께 상승하며 하중을 전달하므로 대부분의 하중은 건축물 벽체 근처에서 작용하게 됩니다.
이때 마스트와 벽체의 구속 조건을 부여할 때에는 모멘트에 의한 회전 방향 자유도를 풀어주도록 합니다.
하중 조건은 고정식과 동일하며 이때의 마스트는 모멘트와 수직 및 수평하중이 작용하는 단순지지보로 간주할 수 있습니다.
3. 구조해석 결과
1) 고정식



타워 마스트 상단에 모멘트만이 작용할 경우에는 마스트 높이가 높아짐에 따른 응력의 차이가 발생하지 않습니다.
마스트 높이가 높아질수록 안전성을 저하 시키는 요인은 모멘트가 아닌 횡 방향 하중입니다. 마스트 높이가 20 m 일 때와 100 m 일 때 풍하중의 영향을 비교하면 100 m 일 때가 지면 근처 구조물에서 발생하는 응력 값이 더 큽니다.
때문에 건설 현장에서는 고정식 타워크레인의 경우 일정 높이 이상일 때 월 타이(브레싱)을 설치하여 하중을 분산 시킵니다.



물론 모멘트가 증가함에 따라 기초 앵커의 반력이 증가하므로 이 역시 잘 조정되어야 합니다. 기초 앵커 간의 거리가 클수록 반력은 감소하게 됩니다.
결과적으로 마스트의 안전성, 기초 앵커의 안전성, 기초 콘크리트의 안전성 검증이 필요하게 됩니다.
2) 상승식
상승식은 고정식과 다르게 하중이 건축물의 벽체에서 지지됩니다. 위의 모멘트 반력 그림을 90도 회전시켜보겠습니다.

건축물의 각층에 작용하는 반력은 층간 거리와 반비례합니다. 층간 거리를 4 m로 지지할 경우보다 6 m로 지지할 때가 반력이 더 감소하므로 구조적으로 안전합니다.


4. 결론
타워크레인 마스트를 고정식과 상승식으로 구분하여 구조해석할 수 있습니다.
고정식과 상승식 각각 작동원리에 맞는 경계 및 하중 조건을 부여하여 구조해석을 진행, 구조적 안전성을 검토하여 설계적 검증 또는 사용조건의 제한사항 선정을 할 수 있습니다.
이엔지베이에서 제공하는 모든 콘텐츠는 관련 법의 보호를 받습니다.
모든 저작권은 이엔지베이에 있으며 콘텐츠의 무단 복사,배포,편집을 금합니다.
'구조해석' 카테고리의 다른 글
| 열해석이란? 사례 분석 및 컨설팅 정보 (0) | 2022.02.27 | 
|---|---|
| 충돌해석이란? 사례 분석 및 컨설팅 정보 (0) | 2022.02.27 | 
| 진동해석이란? 사례 분석 및 컨설팅 정보 (0) | 2022.02.27 | 
| 다물체 동역학(Multi-Body Dynamics) & 강체 동역학(Rigid Body Dynamics) & 유연체 동역학(Flexible Body Dynamics) (0) | 2021.06.22 | 
| 정적 해석(Static Analysis) 이란? (0) | 2021.04.19 | 
