안녕하세요? 이엔지베이는 구조해석 컨설팅 & 용역 전문 업체입니다.
강구조물의 피로현상에 대해 장편에 걸쳐 포스팅을 개시할 계획입니다.
현업에서 경험할 수 있는 다양한 피로 현상과 용접의 피로 균열에 대한 내용을 다루게 됩니다.
1. 피로 설계의 일반 사항
노치의 영향은 응력집중을 발생시키며 구조물의 피로 강도를 저하시키므로 응력 흐름에 최대한 방해가 되지 않도록 구조물을 설계하는 것이 중요합니다.
응력이 높은 영역에서는 피로 강도가 낮아지기 때문에 해당 영역에 용접의 시작이나 마무리를 해서는 안 됩니다.
용접의 시작과 끝은 항상 노치가 발생하게 됨을 명심해야 합니다. 따라서 전체 구조를 분석하고 개선하기 위해서는 이러한 약점들이 어디에 분포되어 있는지 분석하고, 해당 지점에서 피로 강도를 향상시킬 수 있는 방법을 모색하는 것이 중요합니다.
2. 이음(Joint)의 선택
기계의 이음에는 용접, 볼트, 리벳, 핀, 커플링 등 많은 종류가 있지만 본 내용에서는 용접만을 다루겠습니다.
이음을 선택할 때에는 피로 강도 값(FAT)를 고려해서 선택해야 합니다. FAT의 정의는 200만 하중 사이클에서 재료가 파괴될 확률이 2.3%일 때를 말합니다.
피로 강도는 용접 이음의 종류에 따라 다르므로 만약 높은 응력 수준에 노출된 영역에 이음을 하고자 한다면 노치 효과가 낮은 이음을 선택하는 것이 바람직할 것입니다.
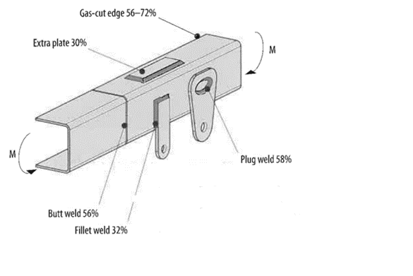
그림 1은 이음의 선택에 따른 피로 강도의 상대적 차이를 보여줍니다.

Beam 요소가 굽힘 하중을 받을 때, Beam의 중립 축은 최대 전단응력이 발생하고 굽힘에 의한 최대 주응력은 탄성 이론 관점에서 Zero에 가깝다는 것을 알면, 그림 1의 Plug weld와 Gas-cut edge 그리고 Butt weld의 피로 강도가 가장 우수한 것을 이해할 수 있습니다.
특히 Plug weld의 경우 용접에 의한 노치 발생을 최소화하고 용접 위치를 중립 축에 위치시킴으로써 피로 강도 향상에 크게 기여한 것은 인상적입니다.
3. 피로하중을 받는 고강도강(High Strength Steel)
산업기계 특히, 건설기계에 많이 사용되는 고강도 강은 자동차용 고장력강(POSCO의 GIGA Steel 따위)과는 차이가 있습니다. 자동차용 고장력강의 경우 냉간 단조로 성형되므로 두께가 얇고 냉간 성형 과정에서의 미세조직의 조밀화로 내충격성이 좋으므로 주로 자동차 용도로 사용됩니다.
반면에 건설기계에서 주로 사용되는 고강도강은 열간 단조로 성형되므로 자연적인 뜨임 효과(Tempering)로 잔류응력을 줄이고 열간 성형이므로 비교적 높은 두께(후판)로 생산된다는 장점이 있습니다. 이러한 열간 성형된 고강도강은 높은 응력을 설계수명 동안 받아내야 하는 건설기계의 특성과 잘 어울립니다.
이러한 고강도 강은 높은 사용응력을 제공하지만 용접된 부품의 경우에는 피로 강도를 보증하기 힘듭니다. 실험적으로 용접된 연강(Mild steel)과 고강도강의 피로 강도를 비교해 보면 높은 항복강도를 가지는 고강도강 일지라도 피로 강도는 연강과 큰 차이가 없음을 알 수 있습니다(그림 2 참조).

때문에 고강도강의 용접 이음에서는 피로 강도를 향상시키기 위한 방법으로 효율적인 용접 이음을 선택하거나 후 처리를 통해 노치 효과를 최대한 제거하는 등의 노력이 필요합니다.
4. 용접 이음의 배치 및 설계
그렇다면 용접 이음을 효율적으로 선택하는 방법에는 어떤 것들이 있을까요?
공칭응력이 높은 영역에서 응력 집중을 회피하는 것은 용접 이음 설계의 기본 원칙입니다. 당연히 공칭 응력이 낮은 영역에 용접을 배치하는 것이 좋습니다.
예를 들어, 굽힘 하중을 받는 빔의 경우 중립 축에 용접 이음을 배치하는 것이 대표적입니다(그림 3 참조).

실제로 크레인의 붐(Boom)의 용접은 그림 3처럼 중립 축에 용접 이음을 배치하여 설계됩니다. 반대로 굽힘 하중의 받는 빔의 상/하 단에는 인장/압축 하중이 작용하므로 해당 부분에는 용접 이음의 배치를 피하는 것이 가장 좋습니다.
그 외 설계적 요소를 적용하는 방법으로는 용접 수를 줄이는 방법, 용접 위치의 이동, 용접 대신 밴딩이나 그루브(Groove), 나사, 리벳 이음 등을 사용하는 방법 등이 있습니다(그림 4).

또한, 갑작스러운 강성 변화를 피하고 이음 간의 응력 흐름을 균일하게 하기 위한 노력들도 효과가 있습니다(그림 5).

필릿(Longitudinal direction) 용접부는 수직으로 하중이 작용할 때 보다 평행하게 하중이 작용할 때 피로 강도가 더 높습니다.
용접에 평행한 하중이 작용할 때 피로 강도 값이 FAT=90 MPa인 반면에 수직 하중은 FAT=56 MPa을 나타냅니다(그림 6).

맞대기 용접은 응력 흐름이 상대적으로 자연스럽고 국부적인 굽힘 모멘트가 작기 때문에 피로 문제에 효과적입니다. 때문에 가능하다면 필릿 용접보다는 맞대기 용접을 배치하는 것이 피로 강도 향상에 도움이 됩니다.
불가피하게 필릿 용접을 적용해야 하는 경우라면 용접의 용입을 깊게 유도하는 방법으로 피로 강도 향상을 도모할 수 있습니다(그림 7).

압축 응력이 작용하는 영역에 용접 루트(root)를 배치하는 것은 효과적입니다.
만약 루트 부분의 노치로 인해 피로균열의 시작점이 될 때, 압축 응력이 작용하도록 배치할 경우 압축 하중의 균열 성장 억제 효과로 피로 강도 향상에 효과적입니다(그림 8).

5. 하중의 작용
구조 설계 관점에서 하중의 작용은 크게 2가지 원칙을 적용하여 설계하도록 합니다.
첫 번째 원칙은 국부적인 굽힘을 피하는 것입니다. 이것은 하중의 작용을 수직이 아닌 수평방향으로 작용하도록 하는 것으로 그림 9를 보면 쉽게 이해할 수 있습니다.

두 번째 원칙은 용접부를 가능한 중립 축에 가깝도록 배치하는 것입니다. 용접의 시작과 끝에는 노치에 의한 응력집중이 발생하므로 플러그 용접을 사용하는 것이 효과적입니다(그림 10).

이상으로 강 구조물의 피로 설계(Fatigue Design) 방법에 대해 알아보았습니다.
다음 시간에는 “모재(Non-welded material)의 피로”에 대해 알아보겠습니다.
감사합니다.
CAE 용역&컨설팅 전문 업체 ENGBAY
ENGBAY는 다년간의 설계 및 해석 경험을 바탕으로 단순한 해석 결과 도출이 아닌, 제품 개발에 필요한 원천적인 솔루션을 제시해 드립니다.
제품 개발 중 발생할 수 있는 다양한 문제들을 CAE Simulation을 통해 효과적으로 해결하세요!
ENGBAY가 여러분의 개발 과제를 도와드립니다.
구조해석 & 유동해석을 활용하면 개발에 투입되는 자금을 획기적으로 줄일 수 있습니다.
아래 링크를 통해 다양한 해석 정보를 확인하실 수 있습니다.
출처
[1] Platbandboken, utgava VII. SSAB Borlange: s.n., 1997.
[2] SSAB Design handbook, www.ssab.com/ko-kr
이엔지베이에서 제공하는 모든 콘텐츠는 관련 법의 보호를 받습니다.
모든 저작권은 이엔지베이에 있으며 출처 외 콘텐츠의 무단 복사,배포,편집을 금합니다.
'구조설계' 카테고리의 다른 글
| 피로 설계 4 : 용접 구조물의 피로 Part 1 - 노치효과 및 최적 목 두께 선정 (2) | 2023.09.21 | 
|---|---|
| 피로 설계 3 : 모재(Non-welded material)의 피로 (0) | 2023.09.20 | 
| 피로 설계 1 : 강 구조물의 피로현상(The fatigue phenomenon)과 피로강도에 영향을 미치는 인자들 (0) | 2023.09.20 | 
| 키(Key)의 설계 (0) | 2021.05.31 | 
| 너트 설계 - 굽힘강도, 전단강도, 접촉면압력 계산 (6) | 2021.05.31 | 
